▍ 簡要說明 ↴
YLDD系列智能大電流發生器是陜西意聯電氣按照國家相關標準,結合自身技術實力研發生產的一款新型大電流發生器,其設計上采用電磁感應原理,選用高導磁材料并優化整體結構,在提高載流時間和電流穩定性的同時具有較小的體積和重量。YLDD系列便攜式多功能大電流發生器操作方便,性能穩定且安全可靠,在諸多電力用戶之中廣受好評。
▍ 功能特點 ↴
✯ 選用自耦調壓器,輸出電壓隨意可調;
✯ 內置兩塊電流表,大小電流雙向測量;✯ 安全可靠,操作簡單,適用范圍廣。
▍ 技術參數 ↴
◈ 額定容量:3-600 kVA
◈ 輸入電壓:單相220V/380▍ 面板布置說明 ↴
大電流發生器升流器有單、分體式兩種,其面板布置及大電流發生器接線方式如下:
1.單體式結構:

1.2電流表顯示|3.電壓表顯示|4.電源信號指示燈|5.電流轉換開關|6.電壓轉換開關|7.合閘信號燈
|9.啟動按鈕|10.停止按鈕| 12.13.電源接線端子 A-X|14.外殼接地端子 |15輸出接線排
備注:當電壓選擇開關在高檔時,是指輸入電壓;在電壓選擇開關在低檔時,是指網絡電壓。
2.分體式結構:
▍ 使用方法 ↴
在作大電流試驗時,按本產品的電路圖正確接好工作線路。根據工作電流的大小,選擇好大、小量程開關位置。將升流器輸出端用大電流導線穿芯于被試電流互感器,形成一閉合回路;再將調壓器回到零位,按下工作按鈕(綠色),順時針方向慢慢旋轉調壓器手輪,注視電流表,直到所需電流值為止,按下計時按鈕(黃色)計時器開始計時,試驗到所定時間后,立即將調壓器手輪反時針方向回零,按下停止按鈕(紅色),切斷電源。
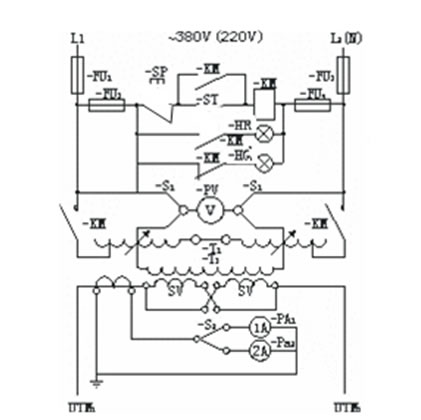
▍ 工作原理 ↴
-PA1、-PA2:電流表 -PV:電壓表
▍ 使用維護注意事項 ↴